音源モジュールと PC 用シリアルケーブルを接続(俗に言う RS-MIDI)する際の注意についてまとめました。手元にある音源のマニュアルを参考にしているので、設定が異なる音源モジュールもあるかも知れません。
なお作成にあたっては、間違いがないよう配慮したつもりではありますが、コネクタの配線などで間違いがないとは言い切れません。記述ミスによるトラブルについては、当方では一切の責任を負いかねますのでご注意ください(誤記に関する情報提供は大歓迎です)。
また、RS-232C(シリアル)端子がない PC の接続方法は、「 USB 経由で MIDI 機器に接続するには 」にまとめました。
MIDI の規格は 31.25kbps ですが、PC/AT 互換機で使われていたシリアルコントローラ(16550系列)ではこの速度が出せず、38.4kbps で代用していたという経緯があります。また、音源側も TO HOST 端子接続時にはシリアル-MIDI コンバータとしても機能するようになるなど、音源内部の情報の流れが MIDI のみの利用と変わるものがあるため、適切な設定をしないと意図どおり動かないことがあります。
| メーカー | スイッチ位置 *1*2 | ケーブル型番 *1*2 | ||||||
|---|---|---|---|---|---|---|---|---|
| PC-98x1 | PC/AT | Mac | MIDI | PC-98x1 |
PC/AT D-sub 9-pin |
PC/AT D-sub 25-pin |
Mac | |
| KAWAI | N | I | A | M | ---- | ---- | ---- *4 | ---- |
| KORG | 31.25k | 38.4k | 31.25k | - | AG-003B | AG-001B | AG-004 *3 | AG-002B |
| Roland | RS232C-1 | RS232C-2 | RS-422 | MIDI | RSC-15N | RSC-15AT | ---- | RSC-15APL |
| YAMAHA | PC-1 | PC-2 | Mac | MIDI | CCJ-PC1NF | CCJ-PC2 | ---- *4 | CCJ-MAC |
なお、KORG の音源はハードウェア的なスイッチで設定するのではなく、本体前面パネルの操作で切り替えるようになっています。以下に一例を挙げます。
2011/11/26 追記:サードパーティーのケーブルもあります。Roland仕様と思われます。
| メーカー | 製品名 | amazon |
|---|---|---|
| サンワサプライ | KB-MID04-18 |
なお、各種変換コネクタが利用できるケースもあります。
各機種のコネクタについてまとめました。○がオス、●がメスを表しています。
※MIDIのピン配置が左右逆になっているのを修正しました (2023-11-12)
| 機種 | 規格 | コネクタ形状(ケーブル側) |
|---|---|---|
| NEC PC-9801/9821 | D-sub 25-pin | ![]() |
| PC/AT | D-sub 9-pin | ![]() |
| PC/AT | D-sub 25-pin | ![]() |
| Macintosh | mini DIN 8-pin | ![]() |
| MIDI | DIN 5-pin | ![]() |
なお、ケーブルを自作する場合、MIDI OUT のみであれば、シリアルコネクタから MIDI IN への直結ケーブルを作成するという手もあります(PC/AT の場合はソフトウェアでタイミングをとる必要があります)。ケーブルの自作は 自己責任 で行ってください。
また、RS-MIDI ではありませんが、SoundBlaster 等のゲームポートから MIDI IN/OUT を取り出す方法については、 MMA (MIDI Manufacturers Association) に 回路の紹介 がありますので、そちらをご覧下さい。
マニュアルに載っていた TO HOST 端子用ケーブルの仕様です。
| mini DIN, 8-pin, male | <==> | D-sub, 25-pin, male | figure | ||
|---|---|---|---|---|---|
| 1 | HSKo | ---- | CTS | 5 | ![]() |
| 2 | HSKi | ---- | RTS | 4 | |
| 3 | TXD- | ---- | RXD | 3 | |
| 4 | GND | ---- | GND | 7 | |
| 5 | RXD- | ---- | TXD | 2 | |
| mini DIN, 8-pin, male | <==> | D-sub, 25-pin, male | figure | ||
|---|---|---|---|---|---|
|
+-- +-- |
CTS | 5 | ![]() |
||
| RTS | 4 | ||||
| 3 | TXD- | ---- | RXD | 3 | |
| 4 | GND | ---- | GND | 7 | |
| 5 | RXD- | ---- | TXD | 2 | |
| mini DIN, 8-pin, male | <==> | D-sub, 25-pin, male | figure | ||
|---|---|---|---|---|---|
| 1 | HSKo | ---- | CTS | 5 | ![]() |
| 2 | HSKi | ---- | RTS | 4 | |
| 3 | TXD- | ---- | RXD | 3 | |
| 4 | GND |
-+-- -+ |
GND | 7 | |
| 8 | RXD+ | ||||
| 5 | RXD- | ---- | TXD | 2 | |
| mini DIN, 8-pin, male | <==> | D-sub, 9-pin, female | figure | ||
|---|---|---|---|---|---|
| 1 | HSKo | ---- | CTS | 8 | ![]() |
| 2 | HSKi | ---- | RTS | 7 | |
| 3 | TXD- | ---- | RXD | 2 | |
| 4 | GND | ---- | GND | 5 | |
| 5 | RXD- | ---- | TXD | 3 | |
| mini DIN, 8-pin, male | <==> | D-sub, 9-pin, female | figure | ||
|---|---|---|---|---|---|
|
+-- +-- |
CTS | 8 | ![]() |
||
| RTS | 7 | ||||
| 3 | TXD- | ---- | RXD | 2 | |
| 4 | GND | ---- | GND | 5 | |
| 5 | RXD- | ---- | TXD | 3 | |
| mini DIN, 8-pin, male | <==> | D-sub, 9-pin, female | figure | ||
|---|---|---|---|---|---|
| 1 | HSKo | ---- | CTS | 8 | ![]() |
| 2 | HSKi | ---- | RTS | 7 | |
| 3 | TXD- | ---- | RXD | 2 | |
| 4 | GND |
-+-- -+ |
GND | 5 | |
| 8 | RXD+ | ||||
| 5 | RXD- | ---- | TXD | 3 | |
| mini DIN, 8-pin, male | <==> | D-sub, 25-pin, female | figure | ||
|---|---|---|---|---|---|
|
+-- +-- |
CTS | 5 | ![]() |
||
| RTS | 4 | ||||
| 3 | TXD- | ---- | RXD | 3 | |
| 4 | GND | ---- | GND | 7 | |
| 5 | RXD- | ---- | TXD | 2 | |
| mini DIN, 8-pin, male | <==> | D-sub, 25-pin, female | figure | ||
|---|---|---|---|---|---|
| 1 | HSKo | ---- | CTS | 5 | ![]() |
| 2 | HSKi | ---- | RTS | 4 | |
| 3 | TXD- | ---- | RXD | 3 | |
| 4 | GND | ---- | GND | 7 | |
| 5 | RXD- | ---- | TXD | 2 | |
| mini DIN, 8-pin, male | <==> | D-sub, 25-pin, female | figure | ||
|---|---|---|---|---|---|
| 1 | HSKo | ---- | CTS | 5 | ![]() |
| 2 | HSKi | ---- | RTS | 4 | |
| 3 | TXD- | ---- | RXD | 3 | |
| 4 | GND |
-+-- -+ |
GND | 7 | |
| 8 | RXD+ | ||||
| 5 | RXD- | ---- | TXD | 2 | |
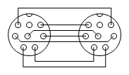
| mini DIN, 8-pin, male | <==> | mini DIN, 8-pin, male | figure | ||
|---|---|---|---|---|---|
| 1 | HSKo | ---- | HSKi | 2 | ![]() |
| 2 | HSKi | ---- | HSKo | 1 | |
| 3 | TXD- | ---- | RXD- | 5 | |
| 4 | GND | ---- | GND | 4 | |
| 5 | RXD- | ---- | TXD- | 3 | |
| 6 | TXD+ | ---- | RXD+ | 8 | |
| 7 | GPI | (NC) | GPI | 7 | |
| 8 | RXD+ | ---- | TXD+ | 6 | |
| mini DIN, 8-pin, male | <==> | mini DIN, 8-pin, male | figure | ||
|---|---|---|---|---|---|
| 1 | HSKo | ---- | HSKi | 2 | ![]() |
| 2 | HSKi | ---- | HSKo | 1 | |
| 3 | TXD- | ---- | RXD- | 5 | |
| 4 | GND | ---- | GND | 4 | |
| 5 | RXD- | ---- | TXD- | 3 | |
| 6 | TXD+ | ---- | RXD+ | 8 | |
| 7 | GPI | ---- | GPI | 7 | |
| 8 | RXD+ | ---- | TXD+ | 6 | |
-|<- はダイオードを示しています。更に抵抗(1〜2kΩほど)を直列で入れた方が良いのですが、ダイオードを発光ダイオードにするのも良いかも知れません。
なお、このケーブルは PC (MIDI OUT相当)と MIDI IN を接続するだけのもので、しかも MIDI の仕様を満足させるものではありません。MIDI IN 相当部の結線はありません。
| mini DIN, 8-pin, male | <==> | D-sub, 25-pin, male | figure | ||
|---|---|---|---|---|---|
| 4 | - | -|<- | TXD | 2 | ![]() |
| 5 | + | ---- | GND | 7 | |
|
+-- +-- |
RTS | 4 | |||
| CTS | 5 | ||||
| mini DIN, 8-pin, male | <==> | D-sub, 25-pin, male | figure | ||
|---|---|---|---|---|---|
| 4 | - | -|<- | TXD | 3 | ![]() |
| 5 | + | ---- | GND | 5 | |
|
+-- +-- |
CTS | 7 | |||
| RTS | 8 | ||||
| mini DIN, 8-pin, male | <==> | D-sub, 25-pin, female | figure | ||
|---|---|---|---|---|---|
| 4 | - | -|<- | TXD | 2 | ![]() |
| 5 | + | ---- | GND | 7 | |
|
+-- +-- |
RTS | 4 | |||
| CTS | 5 | ||||
Back
<音源モジュールTOP
<<TOP